Автомобильная виртуальная система

Интересная новость. Неужели и правда решат проблему укачивания?
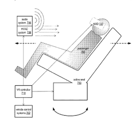
Apple зарегистрировала в Ведомстве США по патентам и товарным знакам патент на автомобильную развлекательную систему в формате виртуальной реальности. Предполагается, что это обеспечит совершенно новый опыт поездок и решит проблему укачивания в автомобиле.
Согласно описанию патента, пассажиры автомобиля от Apple смогут использовать гарнитуру виртуальной реальности, которая будет синхронизироваться с наружными камерами транспортного средства. Дополнительно будут учитываться движение и ускорение машины. В документе указывается, что это поможет людям, которых укачивает в дороге.
Кроме того, технология также подойдёт для просмотра видео и чтения книг в стабилизированной среде, а также для участия в виртуальных встречах прямо в дороге. Другие подробности пока не раскрываются. Хотя нет никакой гарантии, что Apple всё же реализует данную идею.
По имеющейся информации, Apple выпустит свой дебютный автомобиль примерно в 2025 году. Предполагается, что его разработка ведётся с 2014-го. (Отсюда.)
